ADINAの3Dボルト
2012.1.15 The 3D-bolt in ADINA

ADINAの3Dボルト
多くの構造物では、部品を保持するためにボルトが使用されおり、 多くのボルトがある場合もあります。 ボルトと部品の相互影響を有効にモデル化できることが重要です。
ボルトモデリングする際のいくつかの難しさは、各ボルトは、 その振る舞いの後に張力または短縮を伝えることであり、 ボルトの締め付けは、構造物全体の挙動を確実にするために 一定の順番で実施しなければなりません。
構造物に多くのボルトがある場合があるのでモデリングは有効である必要があります。
このニュースでは、簡単にADINAの3D-ボルトオプションを紹介します。 図1に示すように、プログラムはビームのボルトオプションを提供して いますが、3D-ボルト機能を使用するとボルトのモデリングの精度は明らかに高いです。

図1 色々なボルトのモデリング技術 a)ビームボルト要素でボルトをモデル, b)ボルト収縮を使用したビームボルト要素, c)3D-ボルト要素でボルトをモデル
サポートされているボルト荷重の種類は次のとうりです:
これら両方の場合において、構造体の変形が考慮されます。 ボルト荷重が定義された後、ボルトの軸力または長さの縮小は、与えられた値を持っており 残りの構造物に作用することを意味し、構造物の変形を引き起こします。
もちろん、ADINAを使用すると、ボルトは任意の数をモデルに含むことができます。 ボルトはすべて同時に負荷することができます。あるいは、順番に負荷することもできます。
モデルに3Dボルトを導入するには、3D要素グループは3Dボルトとして指定されます。 ボルトの方向は断面で定義され、3Dボルトの形状は任意です。 ボルトは微小変位/大変位、微小ひずみ/大ひずみを制御することができ、 ボルトを表現する要素の側面と表面を直線または曲線にすることができます。 また、任意の材料、任意の要素の節点数と接触条件は任意の数を使用する ができます。混合法と非適合モードも用いることができます。
また‐
図2および図3以下は、ADINAの3D-ボルト解析機能が使用されている簡単な問題を明確に するために与えられています。
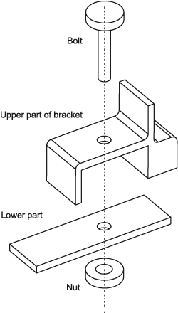
ブラケットの2つの部品はボルトで固定されています。部品がボルトで固定された後、 ボルト張力は2000N、その後、圧力が適用されます。

図2 ボルト組立

図3 組立順序; (a)部品をボルトで締める (b)圧力負荷を定義する
このモデルでは、ボルトとナットの組合せは、3D-ボルト要素グループを使用してモデル化され います。図4を参照してください。ボルト要素グループとブラケット要素グループは接触します。 解析のいくつかの結果は図5と図6に示されています。

図4 モデルに定義された3D-ボルト要素のグループ 図5 結果:ボルトプリテンションと圧力の影響

図6 結果:(a)3D-ボルト要素グループの応力 (b)接触のギャップ量
冒頭の動画は、ボルトとナットの応力ベクトルを示しています。
ボルトモデリングの機能は、構造解析にとって非常に強力なADINAの機能であり、
上記の様々な解析オプションを指定することは非常に簡単です。
- 一般的な非線形解析やマルチフィジックス解析を含みます。
Bolt, 3Dモデリング, 非線形, 大変位, 大ひずみ, 接触, 静的, 動的, マルチフィジックス
